Apple 赢得了双显示器支架的专利,该支架似乎基于 Studio Display 和 Pro Display XDR 的“ Pro Stand ”设计选项。

该专利申请于 2020 年首次浮出水面,但现在美国专利商标局已正式授予苹果专利。由Patently Apple发现的已授予专利简称为“双显示器支架”,并详细介绍了一种机械设计,旨在解决现有多显示器解决方案的缺点,为最多两个外部显示器提供简单而精确的调整。
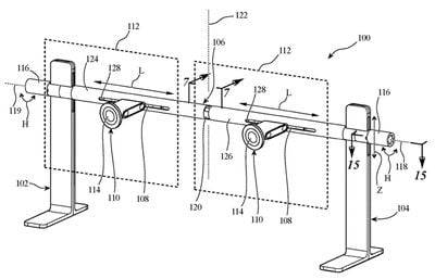
该文件概述了一个大型展示架,它有两个间隔开的腿,由一个水平支撑杆连接,可以安装两个显示器。支架允许高度精确的调整和控制,具有垂直、水平和中心枢轴自由度。Apple 简要描述了专利中支架所提供的改进:
展示架为用户在单个支架上支撑和使用多个显示器提供了改进的平滑度、刚性和舒适度。

该支架似乎使用与 Studio Display 和 Pro Display XDR 的现有 Pro Stand 相同的可移动关节,但将它们放置在轨道梭上以进行水平调整。支撑杆上的中央接头允许支架调整显示器之间的角度。

支架的每一侧都有把手,可以扭动以轻松调节支撑杆的高度,从而实现精确的垂直调节。该专利指出,无论支撑杆的角度或转动哪个手柄,整个杆都会被抬起。
该专利还强调,尽管使用轮子对支撑杆进行了调整,但连续轨道上的梭子仍可与轨道“平稳、一致地接触”。

该文件解释了为什么双显示器支架解决方案可能优于现有的第三方支架解决方案,例如可独立移动的 VESA 安装臂:
当用户在工作空间中使用多个显示器时,显示器通常由多个不同的独立支架或从单个支撑点延伸的可独立移动的臂支撑。这些单独的支架或臂不必要地占用大空间,通常不美观、过于复杂并且具有低效的冗余机制。当在独立臂上使用多个显示器时,由于平衡和臂长不一致,它们可能难以以平滑和精确的方式对齐。当在单个支架上使用多个显示器时,它们不能围绕垂直轴相对于彼此进行有效调整。
当它在 2020 年首次出现时,专利申请的发展程度令人震惊,有效地概述了整个产品。通常情况下,Apple 的专利申请集中在设备或系统的特定部分,虽然双显示器支架的机械操作都可以归于单一申请,但与现有的 Pro Stand 有非常明显的相似之处,同时具有明显的细节水平用于迄今为止未知的 Apple 配件。
鉴于这种完整程度,Apple 可能计划在未来的某个时候将 Dual Display Stand 带给客户。它也有可能保留供内部企业使用或仅用于零售店展示单元。话虽如此,专利申请只能可靠地显示苹果正在研究和开发的内容,其专利中详述的许多方面从未真正出现过。
值得注意的是,虽然 Pro Display XDR 的支架由于采用磁性安装系统而可以互换,但 Studio Display 的支架不能,并且必须在购买时配置首选支架。这意味着 Studio Display 的任何新双显示器支架同样必须在购买时进行配置,Studio Display 和 Pro Display XDR 有不同的选项。也有可能在任何此类配件可用时,Studio Display 和 Pro Display XDR 的未来迭代可能会配备改进的安装系统。
Apple 用于 Pro Display XDR 的 Pro Stand 与显示器本身分开销售,在 2019 年 6 月以 999 美元的价格宣布时引起了争议。今年 3 月,Apple 为 Studio Display 带来了相同的高度和倾斜度可调支架设计,附加选项为 400 美元。至少,该专利表明苹果正在研发新的机械展示架。
未经允许不得转载:表盘吧 » Apple 为 Studio Display 和 Pro Display XDR 申请双“Pro Stand”专利

