Apple 专利的天窗具有可变不透明度玻璃,这意味着驾驶员可以选择调整天窗的透明度,该专利还显示天窗与侧窗依次打开,而当前具有类似技术的汽车具有固定天窗。
这是专利描述的一部分:
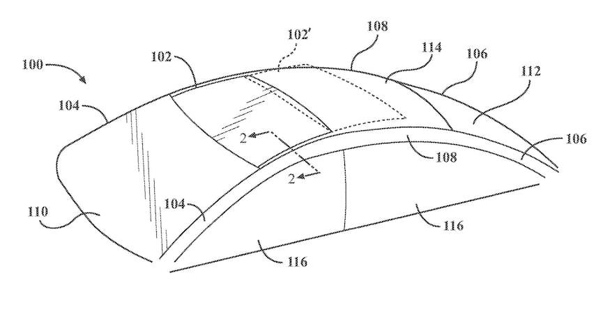
所公开实施例的另一方面是一种车辆,其包括窗户和限定在窗户上的可变半透明区域。可变半透明区域是可控的,以允许所需程度的光通过窗口进入。可移动面板组件可在关闭位置和打开位置之间移动。
换言之,传闻中的“Apple Car”的驾驶者将可以选择是让阳光进入车内而不用打开天窗,还是完全打开它来呼吸新鲜空气。不难想象 Apple Car 天窗可以通过 CarPlay 甚至通过 Siri 进行调整。
但当然,这项专利最重要的部分是它证实了所有关于苹果公司正在开发自己的汽车的传言。

最近的报道显示,苹果公司继续开发和测试新的自动驾驶汽车系统,同时它也一直在与其他公司讨论制造计划。然而,即使所有的传言都是真的,Apple Car 的推出还有 3 到 4 年的时间——尤其是在该公司已经失去了汽车项目团队的多名工程师的情况下。
未经允许不得转载:表盘吧 » 苹果最新专利授权展示了一种特殊的汽车天窗系统

